「北交所周报」北交所将迎来首个上市的外资企业;首批北证50指数基金发行;IPO闯关6过6;新股“方盛股份”、“格利尔”上市涨超30%-深圳市华岭基因科技有限公司

上周(11月28日-12月2日)北交所行情方面,北证50指数下跌1.68%,最高触及1026.86点,最低报1004.94点,12月2日收盘报收1016.24点。

市值排名前十的个股多数股价下跌,仅诺思兰德和长虹能源实现上涨。其中,诺思兰德涨幅达12.8%;长虹能源涨幅2.34%;“市值一哥”贝特瑞跌幅2.13%;吉林碳谷跌幅0.09%;连城数控跌幅4.95%;颖泰生物跌幅0.18%;硅烷科技跌幅3.23%;森萱医药跌幅10.35%;华岭股份跌幅1.66%;海泰新能跌幅2.60%。

图片来源:钛媒体

消息面上,11月28日消息,华岭股份发布公告称,刘远华因个人原因,申请辞去公司副董事长、董事及副总经理职务。刘远华持有公司524.0875万股,占公司股本的1.96%。

整体来看,上周北交所个股依旧是涨跌对半,股价上涨或收平个股共有69只,其中两只新股方盛股份和格利尔表现不俗,周涨幅均超过30%,方盛股份涨幅达34.92%,总市值7.40亿元;格利尔涨幅31.77%,总市值9.30亿元;诺思兰德涨幅12.82%,总市值39.69亿元;盖世食品涨幅7.25%,总市值9.40亿元;同享科技涨幅7.13%,总市值15.75亿元;吉冈精密涨幅5.05%;总市值11.45亿元;五新隧装涨幅3.90%,总市值7.43亿元;创远信科涨幅3.82%,总市值16.68亿元;恒拓开源涨幅3.25%,总市值5.69亿元;朱老六涨幅3.00%,总市值10.89亿元。

对于方盛股份上市首日的大涨行情,资深新三板评论人周运南表示,主要是其具备“五低”概念,即低发行价6.5元、低发行市盈率16.07倍、低中签率0.25%、低老流通股数4.37万股,以及低流通市值1.3亿元,与9月27日上市的中纺标类似,并且其换手率高达83.78%,仅次于此前上市的荣亿精密85.69%的换手率,成为北交所新股换手率第二高。

与方盛股份一样,上市高开的格利尔大涨30%,发行定价9.60元/股,对应的市盈率为23.32倍,募资净额约8706万元。2019年至2022年1-6月报告期,格利尔的营业收入分别为3.62亿元、3.72亿元、5.04亿元和3.25亿元,相对应的归母净利润分别为3224.27万元、3142.76万元、3643.91万元和3740.48万元。

另一只涨幅超10%的诺思兰德,上周股价持续走强,并在11月30日创下15.79元近8个月的股价新高,诺思兰德是一家创新型生物制药企业,专业从事基因治疗药物、重组蛋白质类药物和眼科用药的研发、生产及销售。公司在研生物新药项目覆盖心血管疾病、代谢性疾病、罕见病等领域。

北交所跌幅前十的个股分别为:中科美菱跌幅11.46%;森萱医药跌幅10.35%;中纺标跌幅10.00%;新芝生物跌幅7.60%;力佳科技跌幅6.48%;骏创科技跌幅6.28%;连城数控跌幅4.94%;新威凌跌幅4.86%;梓橦宫跌幅3.94%;硅烷科技跌幅3.23%。

值得一提的是,次新股新威凌、中科美菱和中纺标上周均录得五连跌,森萱医药后半周股价持续走弱,连跌3天。近日,中科美菱发布了关于延长公司股东股份锁定期的公告,公告显示,控股股东长虹美菱股份有限公司持有的公司股份的锁定期限延长6个月。

北交所市盈率前十的个股分别为:大地电气市盈率达480.97倍;同辉信息市盈率为194.5倍;志晟信息市盈率131.67倍;三元基因市盈率79.29倍;殷图网联市盈率63.94倍;中设咨询市盈率58.13倍;创远信科市盈率47.85倍;昆工科技市盈率43.49倍;同心传动市盈率为40.36;华岭股份市盈率37.05倍。

新股上市方面,上周北交所迎来“上市小高峰”,方盛股份、云里物里等四家企业登录北交所,

至此,北交所上市企业达132家,今年上市的企业有53家,国家级专精特新“小巨人”占比近一半。

11月28日,方盛股份在北交所上市,首日开盘大涨,开盘价9元/股,较发行价涨38.46%。收盘价9.88元/股,较发行价涨52.00%,全日成交金额为1.61亿元,换手率为83.78%,总市值8.3亿。

方盛股份是一家专业从事板翅式换热器和换热系统的研发、设计、生产和销售的高新技术企业,产品广泛应用于风力发电、余热回收、轨道交通、空压机、工程机械、液压系统、汽车等多个领域。今年前三季度,营收和净利润实现两位数增长,其中营收为2.54亿元,同比增长24.44%,净利润为3718万元,同比增长32.93%。

同样上市首日大涨的格利尔于12月2日挂牌北交所。上市当天,开盘价12.5元/股,较发行价涨30.21%,盘中最高涨幅达41.35%, 截止当日收盘,涨31.77%。全天成交量1238.68万股,成交额1.58亿元,换手率52.45%。业内人士称,格利尔的首日表现主要得益于其较低的动态市盈率和光伏逆变器材料概念。资料显示,格利尔发行价格为9.6元/股,发行市盈率为23.32倍,发行股份数量1050万股,募集资金总额约1亿元。公司主要从事照明产品及磁性器件的研发、生产和销售。

与上述两只新股不同,云里物里倍益康上市首日均未能逃过“破发”阴霾,云里物里于11月29日登录北交所,上市首日股价破发,并连续两日下跌,累计跌幅3.2%。资料显示,云里物里主营蓝牙传感器、物联网模组、物联网网关等智能硬件产品以及搭载物联网云平台系统的电子标签产品的研发、生产和销售。

云里物里本次发行规模1150万股,发行数量占发行后总股本的14.11%,募集资金总额为1.15亿。募集募资将用于物联网智能硬件产品智能生产基地建设项目、物联网智能硬件及云平台研发项目、以及营销推广建设项目。业绩层面,2019年-2021年,云里物里实现营收净利双增,营业收入分别为1.16亿元、1.38亿元、2.07亿元,净利润分别为2107.37万元、2142.93万元、4491.7万元,21年净利润同比增长109.6%。

倍益康于12月1日在北交所上市,开盘即破发,当日报收30.80元,跌幅3.14%,盘中最高价30.80元,盘中最低价28.18元,振幅8.24%,换手率28.93%,成交额9729.38万元,总市值14.98亿元。有投资者认为,倍益康的破发可能与其发行价较高有关。从近日上市的新股来看,价格低、市盈率低、老流通股低、网上中签率低的新股上市后表现相对较好。据倍益康招股书显示,倍益康本次拟募集资金35,934.00万元,拟分别用于成都智能制造生产基地建设项目、研发中心升级建设项目和营销网络及品牌宣传建设项目。值得一提的是,云里物里属于专精特新“小巨人”,倍益康则属于省级专精特新企业。

与上市热同步的是,上周北交所发行审核也开启加速度,周内共计6场审议会,仅11月29日就创下一日三审记录,6家企业上会,均顺利闯关。过会企业分别为:

太湖雪、天宏锂电、迅安科技、雅达股份、汇隆活塞和欧福蛋业。

11月28日,太湖雪北交所 IPO 过会,距离北交所“丝绸第一股”更近一步。太湖雪是一家集研发、设计、生产、销售于一体的丝绸企业,主营产品包括蚕丝被、床品套件、丝绸饰品、丝绸服饰四个系列。根据北交所上市委员会 2022 年第 70 次审议会议结果,太湖雪因关联交易和三季度业绩突增问题,遭北交所九连问。此外,太湖雪今年上半年业绩遭遇下行压力,上半年营收同比下降24.69%,净利润也出现下滑。对此,太湖雪回应称,主要原因是疫情影响了线下销售,其二就是过度依赖线上渠道和直播带货,少了薇娅的合作,太湖雪的直播收入大受影响,甚至出现了主播带货亏损的情况。

天宏锂电是一家专注于锂离子电池制造的企业,从事锂离子电池模组研发、设计、组装和销售。主要产品为动力型锂电池模组和储能型锂电池模组,产品主要用于电动助力车、电动滑板车、电动摩托车等轻型车领域和电动搬运车等工业领域以及便携式UPS电源。公司为国家级专精特新“小巨人”企业,2022年前三季度,天宏锂电实现营业收入2.62亿元,同比增长3.89%,净利润为2363.23万元,同比增长42.02%。

11月30日,汇隆活塞IPO顺利闯关,据当日审议会结果,上市委要求汇隆活塞结合近年的实际产量和产能利用率情况,以及发展新能源和清洁能源动力船舶等行业趋势,补充说明报告期营业收入逐年下滑的原因及在营业收入和产能利用率逐年下降情况下,募投项目新增产能超过现有产能的必要性等。

欧福蛋业于12月2日过会,成为北交所首家外资IPO过企业,若本次IPO成功,欧福蛋业也将成为北交所首个上市的外资企业。招股书显示,欧福蛋业成立于2004年,主要从事蛋液、蛋粉及蛋类预制品的研发、生产、销售,是中国首家专业生产巴氏杀菌液蛋的企业。

欧福蛋业控股股东为China Egg Products ApS(丹麦),持股比例为87.96%。实控人Christian Nicholas Stadil控制的Ovodan集团主营蛋制品业务,该集团除欧福蛋业外,还有5家经营蛋制品业务的境外企业。本次上会,欧福蛋业被重点问询了原材料价格波动风险及应对措施,控股股东与实控人的同业竞争问题,以及境外实控人能否通过多层架构对公司实现有效控制等。

值得一提的是,本次过会的迅安科技、雅达股份2家公司均为二次上会,此前这2家企业分别于10月10日、11月4日上会被“暂缓审议”

。截至12月2日,北交所已过会待上市公司数量达41家,发行端本周迎来打新小高潮。

11月28日至12月2日,共有恒立钻具、欧普泰、绿亨科技、特瑞斯、柏星龙、康比特、汉维科技7家企业完成申购,其中欧普泰采用询价发行方式,其余均是直接定价发行,发行价最低价为汉维科技,定价每股6.5元。

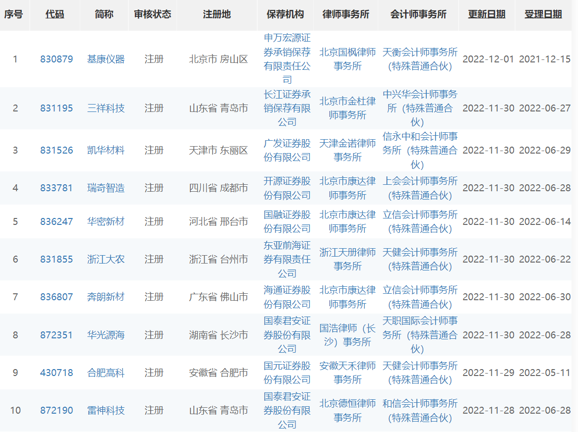
此外,上述过会的6家企业和佳合科技、保丽洁、乐创技术等也同步提交了IPO注册申请。另有雷神科技、合肥高、奔朗新材等10家公司IPO注册获批。

图片来源:北交所

相关政策方面,11月29日,首批北证50指数基金发行,北交所迎来指数投资新时代。首批8只北证50指数基金分别出自华夏基金、易方达基金、南方基金、嘉实基金、富国基金、汇添富基金、广发基金、招商基金等8家头部基金公司。

华安证券表示,指数产品线的布局拓宽了北交所投资渠道,有望吸引长线增量资金,推进北交所市场高质量扩容。拓宽北交所投资渠道的同时,北交所“降费”也正式落地,股票交易经手费减半。据北交所此前发布的《关于下调交易经手费标准的公告》,为进一步降低市场交易成本,激发市场活力,自2022年12月1日起,北交所将股票交易经手费标准由按成交金额的0.5‰双边收取下调至按成交金额的0.25‰双边收取,降幅50%。

具体交易经手费标准如下:普通股、优先股按成交金额的0.25‰双边收取;股权转让协议按成交金额的0.25‰双边收取,单向每笔最高10万元。无成交金额或者每股成交金额低于每股面值的,以转让股份总面值计算收取;可交换公司债券按普通股经手费标准减半收取。

此外,广东省工信厅发布了《关于下达2022年专精特新“小巨人”企业奖补资金安排计划的通知》对2022年专精特新“小巨人”企业奖补资金进行计划安排。其中,对对2022年国家新认定的第四批专精特新“小巨人”企业予以一次性奖补。珠三角地区每家企业奖补100万元,粤东、粤西、粤北地区每家企业奖补120万元。奖补资金由企业用于创新和研发投入,技术成果产业化应用,数字化网络化智能化改造,上市融资等方面。

ogp光学影像测量仪

ogp光学影像测量机

三次元光学影像测量仪

  • 本文内容由互联网用户自发贡献,该文观点仅代表作者本人。本站仅提供信息存储空间服务,不拥有所有权,不承担相关法律责任。如发现本站有涉嫌抄袭侵权/违法违规的内容, 请发送邮件至 931614094@qq.com 举报,一经查实,本站将立刻删除。
  • 版权所属:金橘财经
  • 文章作者:Wang
  • 本文地址:http://caijing.cj8847.cn/96193.html
上一篇: 「劫后,余生」MH370,等你的1600多个日夜-搜寻mh370最新花费多少钱了
下一篇: 「北交所来了」首批北交所上市公司抢先看!这十只率先登陆的新股成色如何?-上市公司打新股